Texas Instruments Interruttori a monte intelligenti a doppio canale TPS2HB16-Q1
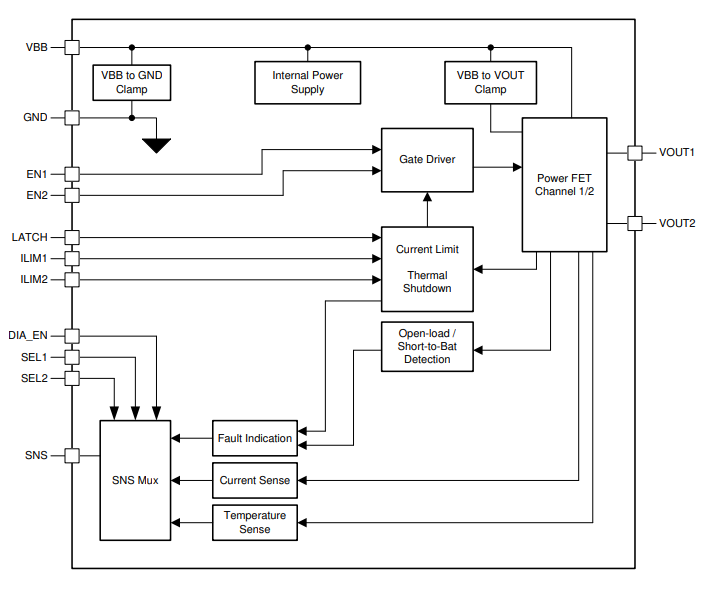
Gli interruttori intelligenti a monte a doppio canale TPS2HB16-Q1 di Texas Instruments sono destinati ai sistemi automobilistici 12 V. Questi interruttori integrano robuste funzioni di protezione e diagnostica per garantire la protezione della porta di uscita durante eventi dannosi come i cortocircuiti nei sistemi automobilistici. Gli interruttori TPS2HB16-Q1 proteggono dai guasti attraverso un limite di corrente affidabile che dipende dalla variante del dispositivo ed è regolabile da 4,1 A a 48,5 A.Gli interruttori a monte a doppio canale forniscono un rilevamento analogico della corrente ad alta precisione che consente di migliorare la diagnostica del carico. Questi interruttori TPS2HB16-Q1 consentono la manutenzione predittiva e la diagnostica del carico, che migliorano la durata del sistema, segnalando la corrente di carico e la temperatura del dispositivo a un MCU di sistema. Gli interruttori TPS2HB16-Q1 di Texas Instruments sono disponibili in un package HTSSOP per un ingombro ridotto sulla scheda. Questi dispositivi TPS2HB16-Q1 sono qualificati AEC-Q100 per le applicazioni automobilistiche. Le applicazioni tipiche includono i moduli ADAS, le unità di controllo della trasmissione, i moduli di comfort dei sedili, i moduli di controllo della carrozzeria e i moduli di visualizzazione automobilistica.
Caratteristiche
- Omologati per applicazioni per il settore automobilistico
- Testato con AEC-Q100 con i seguenti risultati
- Grado di temperatura del Dispositivo 1
- Intervallo di temperatura ambiente di funzionamento TA = da -40 °C a 125 °C
- Classificazione HBM ESD del dispositivo di livello 2
- Classificazione ESD CDM di livello C4B
- Resiste all'assorbimento del carico di 40 V
- Grado di temperatura del Dispositivo 1
- Interruttore a monte intelligente a doppio canale con 16 mΩ RON (TJ = 25 °C)
- Migliorare l'affidabilità a livello di sistema attraverso la limitazione di corrente regolabile
- Il limite di corrente è regolabile da 4,1 A a 48,5 A e fissato internamente a 60 A
- Fornisce indicazione di guasto tramite pin SNS
- Rilevamento di carico aperto e cortocircuito batteria
- Robusta protezione di uscita integrata
- Protezione termica integrata
- Protezione da cortocircuiti verso terra/batteria
- Protezione contro gli eventi di inversione della batteria, compresa l'accensione automatica con la tensione inversa
- Spegnimento automatico in caso di perdita di batteria/terra
- Morsetto di uscita integrato per demagnetizzare i carichi induttivi
- Gestione degli errori configurabile
- L'uscita del sensore analogica può essere configurata per la misurazione di precisione
- Corrente di carico
- Temperatura del dispositivo
Applicazioni
- Modulo display automobilistico
- Moduli ADAS (sistemi avanzati di assistenza al conducente)
- Modulo comfort seggiolino
- Unità di controllo della trasmissione
- Modulo di controllo HVAC (riscaldamento, ventilazione e condizionamento dell'aria)
- Moduli di controllo corpo
- Illuminazione a incandescenza e a LED
