Texas Instruments DS90C189-Q1 LVDS Serializers
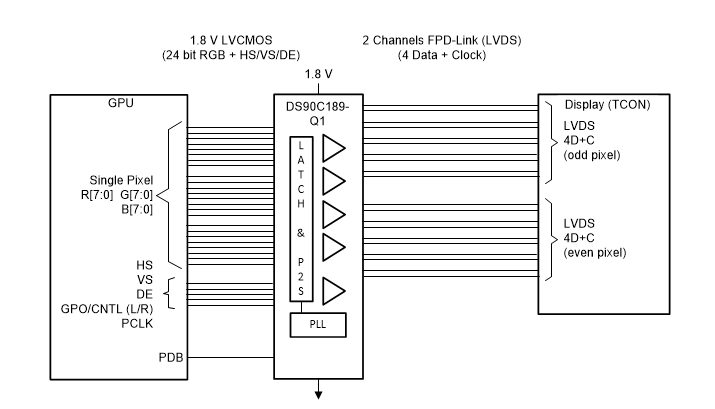
Texas Instruments DS90C189-Q1 1.8V FPD-Link (LVDS) Serializers offer a low-power bridge and are designed for automotive applications. The low-power bridge supports single-pixel data transmission between a Host and a Flat Panel Display while using resolutions of up to QXGA (2048x1536) at 60Hz. The transmitter converts up to 24-bits (Single Pixel 24-bit color) of 1.8V LVCMOS data into two channels. These channels consist of 4 data + clock (4D+C) reduced width interface LVDS compatible data streams. The DS90C189-Q1 supports two modes of operation, single pixel in/out mode, and single pixel in/dual pixel out mode. The device in the single pixel in/out mode can drive up to SXGA+ (1400x1050) at 60Hz, in single pixel in/dual pixel out mode the device can drive up to WUXGA+ (1920x1440) at 60Hz. The DS90C189-Q1 devices are AEC-Q100 qualified for automotive applications.Features
- AEC-Q100 Qualified for Automotive Applications with the Following Specifications:
- Device Temperature Grade 2: –40°C to +105°C Ambient Operating Temperature
- Device HBM ESD Classification Level ±8kV
- Device CDM ESD Classification Level ±750V
- 150mW Typical Power Consumption at 185MHz (SIDO mode)
- Two Operating Modes:
- Single Pixel In, Single Pixel Out (SISO): 105MHz Maximum
- Single Pixel In, Dual Pixel Out (SIDO): 185MHz Maximum
- Supports 3D+C, 4D+C, 6D+C, 6D+2C, 8D+C, and 8D+2C LVDS Configurations
- Compatible With FPD-Link Devices
- Operates Off a Single 1.8V Supply
- Drives QXGA and WQXGA Class Displays
- Supports 24-Bit RGB
- Interfaces Directly With 1.8V LVCMOS
- Less Than 10mW Power Consumption in Sleep Mode
- Spread Spectrum Clock Compatible
- Small 9mm×9mm×0.9mm 64-Pin VQFN Package
Applications
- Camera Monitor Systems (CMS)
- Automotive Head Unit
- Smart Mirror
- Cluster
Block Diagram
Videos
Pubblicato: 2018-08-28
| Aggiornato: 2025-03-06
