STMicroelectronics Driver a 8 canali isolati galvanici ISO808
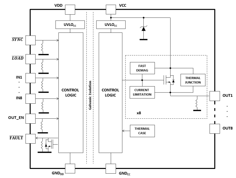
I driver a 8 canali isolati galvanicamente ISO808 di STMicroelectronics sono progettati per pilotare qualsiasi carico con un lato collegato a terra. Ogni driver contiene due domini di tensione galvanicamente isolati indipendenti (VCC e VDD per le fasi logiche di processo e di controllo). Questi driver offrono una bassa corrente di alimentazione, una tensione di alimentazione massima dello stadio di processo di 45 V, una resistenza allo stato ON di 0,125 Ω per canale (tipica) RDS(ON), funzione di reset per le uscite IC disabilitata, elevata immunità ai transitori in modalità comune e protezione da cortocircuito sui canali di uscita. I driver ISO808 offrono anche protezione da sovratemperatura per canale con indipendenza termica di canali separati, protezione da sovratemperatura dell'involucro, protezione da sovratensione e perdita di protezioni GND e VCC.I driver ISO808 includono un sensore di temperatura dell'involucro aggiuntivo che protegge l'intero chip dalla sovratemperatura (evento OVC). I canali non sovraccaricati continuano a operare normalmente. Questi driver includono anche la perdita di protezione da terra, VCC e VDD UVLO (con isteresi) e funzioni integrate nel watchdog. I driver ISO808 sono utilizzati nelle macchine di controllo logico programmabili, di ingresso/uscita periferiche per PC industriali e di controllo numerico.
Caratteristiche
- Demagnetizzazione rapida dei carichi induttivi VDEMAG(TIP) = VCC- 54 V
- Basso processo e bassa corrente di alimentazione dei lati logici
- Arresto per sottotensione con riavvio automatico e isteresi
- I/O compatibili con lato logico da 5 V e 3,3 V TTL/CMOS e MCU
- Abilitazione/disabilitazione pin dell'uscita comune
- Funzione di ripristino per la disattivazione delle uscite IC
- Elevata immunità ai transitori di modo comune
- Protezione da sovratemperatura per canale con indipendenza termica dei canali separati
- Protezione da sovratemperatura dell'involucro
- Protezione da sovratensione (blocco VCC)
- Perdita di protezioni GND e VCC
- Diagnostica a drain aperto dei guasti comuni
- Progettati per soddisfare IEC 61000-4-2, IEC 61000- 4-4, IEC 61000-4-5 e IEC 61000-4-8
- Certificazione UL1577 e UL508
- Package PowerSO-36
Specifiche
- Tensione di alimentazione massima dello stadio di processo 45 V
- Intervallo operativo di ampio processo da 9,2 VCC a 36 VCC
- Resistenza allo stato ON per canale (tipico) RDS(ON) di 0,125 Ω
- Protezione da cortocircuito sui canali di uscita:
- ISO808 ILIM(MIN) = 0,7 A
- ISO808 ILIM(min) = 1 A
- Op. lato processo per canale Corrente:
- IOUT ISO808 <0,7>0,7>
- IOUT ISO808-1 <1>1>
Applicazioni
- Driver per tutti i tipi di carichi:
- Resistiva
- Capacitivo
- Induttivo
- Controllo logico programmabile
- Ingresso/uscita periferica PC industriale
- Macchine di controllo numerico
Diagramma a blocchi
Pubblicato: 2023-01-20
| Aggiornato: 2025-08-08
