Microchip Technology Interruttore di alimentazione USB UCS2113-C e monitor di corrente
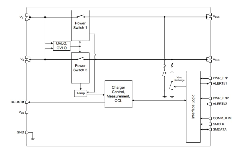
L'interruttore di alimentazione a doppia porta USB UCS2113-C e i monitor di corrente di Microchip Technology forniscono 3 A di corrente continua per porta VBUS con limitazione di sovracorrente (OCL) di precisione. L'UCS2113-C dispone inoltre di abilitazione interruttore di alimentazione porta, gestione automatica dei guasti, blocco sottotensione e sovratensione, protezione da retroazionamento e controtensione, e protezione termica.L'interruttore di alimentazione a doppia porta USB UCS2113-C Microchip e i monitor di corrente sono ideali per applicazioni stand-alone e con comunicazioni SMBus/I2C. Per le applicazioni SMBus, l'UCS2113-C fornisce il monitoraggio della corrente per porta e tre limiti di corrente programmabili per interruttore, che vanno da 3,5 a 5,2 A. Viene inoltre fornito il razionamento della carica per porta, che va da 3,8 mAh a 246,3 Ah. L'UCS2113-C in modalità indipendente supporta tre limiti di corrente per entrambi gli interruttori, che funzionano da 3,5 a + 3,5 A a 5,5 a + 5,5 A. Entrambi gli interruttori di alimentazione includono una funzione di scarica VBUS indipendente.
L'interruttore di alimentazione a doppia porta UCS2113-C e i monitor di corrente sono disponibili in un package QFN a 20 pin 4 x 4 mm.
Caratteristiche
- Interruttori di alimentazione a doppia porta:
- Intervallo di tensione di sorgente da 2,9 V a 5,5 V
- Corrente continua di 3 A per porta VBUS con resistenza in conduzione di 40 mΩ per interruttore
- Pin indipendenti di abilitazione dell'interruttore di alimentazione della porta
- Pin di uscita drain attivi con ALERT# di guasto DOPPIO
- Comportamento di limitazione della corrente in modalità di intervento
- Blocco sottotensione e sovratensione
- Protezione da retro-azionamento e contro-tensione
- Gestione dei guasti a recupero automatico con bassa corrente di prova
- Uscita logica BOOST# per aumentare l'uscita del convertitore CC-CC in condizioni di carico elevato
- Caratteristiche modalità SMBus 2.0/I2C:
- Tre limiti di corrente programmabili assegnati a ciascun interruttore di alimentazione
- Altri indirizzi SMBus disponibili su richiesta
- Blocco lettura e blocco scrittura
- Monitoraggio autonomo della corrente (nessun resistore di rilevamento esterno richiesto)
- Comportamenti e distribuzione della carica per porta completamente programmabili
- Funzione di scarica VBUS automatica
- Ampio intervallo delle temperature di funzionamento da -40 °C a +105 °C
- Supera i test di affidabilità AEC-Q100 per il settore automobilistico
Diagramma a blocchi
