Microchip Technology EEPROM seriali I2C da 3,4 MHz 24CS512
Le EEPROM seriali I2C da 3,4 MHz 24CS512 di Microchip Technology forniscono 512 Kbit di EEPROM seriale, utilizzando un' interfaccia seriale I2C (2 fili). Hanno una capacità di modalità ad alta velocità di 3,4 MHz. I dispositivi sono organizzati come 65.536 byte di 8 bit ciascuno (64 Kbyte) e sono ottimizzati per l'uso in applicazioni di consumo e industriali in cui è essenziale un'archiviazione di memoria affidabile e non volatile. Il 24cs512 consente fino a otto dispositivi di condividere un bus I2C (2 fili) comune ed è in grado di funzionare in un ampio intervallo di tensione (da 1,7 V a 5,5 V).Caratteristiche
- EEPROM 512 Kbit
- Organizzato internamente come un blocco da 65.536 x 8 bit
- Byte o pagina scrive fino a 128 byte
- Lettura per byte o sequenziale all'interno di un blocco
- Ciclo di scrittura auto-sincronizzato (massimo 5 ms)
- Interfaccia I2C ad alta velocità
- Supporto in modalità ad alta velocità per 3,4 MHz
- Standard del settore: 1 MHz, 400 kHz e 100 kHz
- Controllo della pendenza di uscita per eliminare il rimbalzo della messa a terra
- Ingressi per trigger di Schmitt per soppressione del rumore
- Registro di sicurezza
- Numero di serie a 128 bit preprogrammato
- ID Pagina da 128 byte bloccabile, programmabile dall'utente
- Logica ECC (Error Correction Code) integrata
- Bit di stato ECC tramite il registro di configurazione
- Supporto della funzione di identificazione del produttore I2C
- Versatili opzioni di protezione dei dati
- Pin di protezione scrittura Hardware (WP) per una protezione completa dei dati delle matrici
- Maggiore protezione da scrittura software tramite il registro di configurazione
- Intervallo di tensione di funzionamento da 1,8 V a 5,5 V
- Tecnologia CMOS a bassa potenza
- Corrente di scrittura 3,0 mA massima a 5,5 V
- Corrente di lettura 1,0 mA massima a 5,5 V, 1 MHz
- Corrente di standby 1 µA a 5,5 V
- Alta affidabilità
- Più di un milione di cicli di cancellazione/scrittura
- Logica ECC integrata per una maggiore affidabilità
- Conservazione dei dati: >200 anni
- Protezione da ESD: >4000V
- Conforme a RoHS
- commerciali, industriali e automobilistici
- Industriale (I): da -40 °C a +85 °C
Configurazione del sistema utilizzando EEPROM seriali
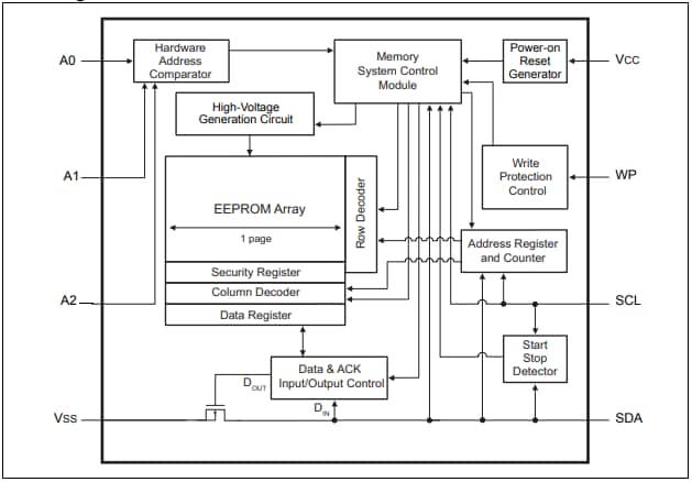
Schema a blocchi
Risorse aggiuntive
- Implementazione della comunicazione Bus I2C a 3,4 MHz con la famiglia di EEPROM seriali ATSAMD21 e 24CS
- Utilizzo di una protezione di scrittura software avanzata in EEPROM seriali serie 24CS
- Uso consigliato di dispositivi EEPROM seriali I2C™ Microchip
- Maggiore flessibilità grazie all'uso di più ingombri per EEPROM seriali I2C™
Scheda di valutazione
Video
Pubblicato: 2021-02-18
| Aggiornato: 2022-03-11
