Analog Devices / Maxim Integrated MAX5725 12-Bit 8-Channel DACs
Analog Devices MAX5725 12-bit, 8-channel, Digital-to-Analog Converters (DACs) feature output buffers and an internal 3ppm/°C reference that is selectable at 2.048V, 2.500V, or 4.096V. MAX5725 accepts a wide supply voltage range of 2.7V to 5.5V with extremely low power (6mW) consumption to accommodate most low-voltage applications. A precision external reference input allows rail-to-rail operation and presents a 100kΩ (typ) load to an external reference. ADI MAX5725 DAC has a fast 50MHz, 4-wire SPI/QSPI™/MICROWIRE®/DSP-compatible serial interface that operates at clock rates up to 50MHz. The DAC output is buffered and has a low supply current of less than 250µA per channel and a low offset error of ±0.5mV (typ). The Analog Devices MAX5725 12-Bit 8-Channel DACs feature a programmable watchdog function that can be enabled to monitor the I/O interface for activity and integrity.Features
- Eight high-accuracy DAC channels
- 12-Bit accuracy without adjustment
- ±1 LSB INL buffered voltage output
- Guaranteed monotonic over all operating conditions
- Independent mode settings for each DAC
- Three precision selectable internal references
- 2.048V, 2.500V, or 4.096V
- Internal output buffer
- Rail-to-rail operation with external reference
- 4.5µs Settling time
- Outputs directly drive 2kΩ loads
- Wide 2.7V to 5.5V supply range
- Separate 1.8V to 5.5V VDDIO power-supply input
- Fast 50MHz 4-wire SPI/QSPI/MICROWIRE/DSP-compatible serial interface
- Programmable interface watchdog timer
- Pin-selectable power-on-reset to zero-scale or midscale DAC output
- Active-low LDAC and active-low CLR For asynchronous DAC control
- Three selectable power-down output impedances
- 1kΩ, 100kΩ, or high impedance
Applications
- Automatic tuning and optical control
- Gain and offset adjustment
- Portable instrumentation
- Power amplifier control and biasing
- Process control and servo loops
- Programmable voltage and current sources
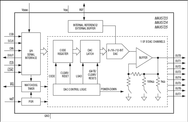
Functional Diagram
Pubblicato: 2012-05-17
| Aggiornato: 2023-04-14
