Analog Devices Inc. Ethernet MAC - PHY ADIN1110 a bassa potenza 10BASE-T1L
ethernet MAC-PHY 10BASE-T1L di Analog Devices Inc. a bassa potenza ADIN1110 integra un nucleo PHY ethernet con un MAC e tutti i circuiti analogici associati, buffer di clock di ingresso e uscita. L'ADIN1110 presenta una singola guida di alimentazione di 1,8 V o 3,3 V ed è progettato per applicazioni ethernet industriali.ethernet MAC-PHY 10BASE-T1L a bassa potenza ADIN1110 di Analog Devices fornisce livelli di trasmissione programmabili, resistori di terminazione esterni e pin Rx/Tx indipendenti, consentendo l'uso del dispositivo per applicazioni di sicurezza intrinseca. L'ADIN1110 ha un monitoraggio dell'alimentazione di tensione integrato e circuiti di ripristino all'accensione per migliorare la robustezza a livello di sistema.
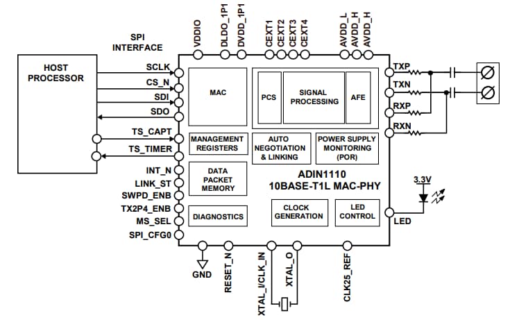
ethernet MAC-PHY offre un'interfaccia SPI a 4 fili per la comunicazione tra il MAC e il processore host. L'ADIN1110 è alloggiato in un package a 40 conduttori da 6 mm x 6 mm.
Caratteristiche
- Capacità di autonegoziazione.
- Supporta applicazioni di sicurezza intrinseca.
- Resistori di terminazione esterni.
- Pin Rx/Tx separati.
- MAC integrato con interfaccia SPI.
- Interfaccia SPI con supporto full duplex 10Mb/sec.
- Supporta la serie MAC-PHY 10BASE-T1x Open Alliance
- Interfaccia
- Mappa della memoria MDIO accessibile tramite SPI
- FIFO su chip: 20 KB di ricezione, 8 KB di trasmissione.
- Operazione di taglio o di deposito e inoltro.
- Code di Rx ad alta e bassa priorità.
- Supporto time stamp IEEE 1588.
- Contatori statistici.
- 16 indirizzi MAC supportati per il filtraggio dei frame.
- Conforme allo standard IEEE® 802.3cg-2019TM 10BASE-T1L.
- Supporta i livelli di trasmissione 1,0 V pk-pk e 2,4 V pk-pk.
- Configurazione non gestita utilizzando la stringa di pin, tra cui:
- Selezione Master/Slave
- Ampiezza di trasmissione.
- Oscillatore a cristalli 25 MHz/ingresso clock esterno 25 MHz.
- Funzionamento ad alimentazione singola da 1,8 V/3,3 V (a seconda della modalità).
- Estensione del cavo.
- 1700 metri + con 1,0 V pk-pk.
- 1700 metri + con 2,4 V pk-pk.
- Basso consumo energetico – doppia alimentazione 42mW tip.
- LED di collegamento.
- Package piccolo a 40 conduttori (6 mm x 6 mm) LFCSP.
- Ampio intervallo di temperatura da -40 °C a +105 °C.
Applicazioni
- Controllo dei processi.
- Automazione industriale.
- Automazione per edifici.
Risorse aggiuntive.
Diagramma a blocchi funzionale.
Articolo
Come un MAC-PHY 10BASE-T1L semplifica la connettività ethernet del processore a bassa potenza.
Uno strato fisico ethernet da 10 Mb (10BASE-T1L) combinato con la fornitura di alimentazione (potenza ingegnerizzata/PoDL/SPoE) su due fili, fino a 1 km, consentirà nuovi tipi di dispositivi connessi ethernet, che generano informazioni di maggior valore, ora più accessibili tramite una rete Ethernet IT/OT convertita.
Progettazione di un sensore di vibrazione per il monitoraggio delle condizioni Ethernet a doppino singolo 10BASE-T1L.
Questo articolo spiega come progettare una piccola interfaccia di alimentazione e dati condivisa (PoDL) per un sensore CbM che includa progettazione di alimentatori, progettazione meccanica, selezione di sensorei MEMS e software per una soluzione completa con sensori.
