Analog Devices Inc. Convertitori analogico/digitale quadricanale AD4134
I convertitori analogico/digitale (ADC) di precisione quadricanale AD7134 di Analog Devices Inc. sono convertitori analogico/digitale (ADC) di precisione e a campionamento simultaneo, a basso rumore che offrono funzionalità, prestazioni e facilità d'uso. Gli ADC quadricanale AD4134 ADI si basano sullo schema di modulazione sigma-delta (CTSD) a tempo continuo. L'AD4134 rimuove il campionamento del circuito del condensatore commutato tradizionalmente richiesto che precede il modulatore Σ-Δ, il che porta a un rilassamento del requisito di guida di ingresso dell'ADC. Inoltre, l'architettura CTSD respinge intrinsecamente i segnali intorno alla banda di frequenza di aliasing ADC, offrendo al dispositivo una capacità antialiasing intrinseca ed eliminando la necessità di un complesso filtro antialiasing esterno.Caratteristiche
- Senza alias: modalità ad alte prestazioni con reiezione antialias intrinseca 102,5 dB, tipica
- Eccellenti prestazioni in cc e dc
- Intervallo dinamico di 108 dB a ODR = 374 kSPS, filtro FIR, tipico
- Intervallo dinamico di 137 dB a ODR = 10 SPS, filtro sinc3, tipico
- THD: -120 dB tipico con tono di ingresso di 1 kHz
- Deriva di errore di offset: 0,9 µV/°C tipica
- Deriva di guadagno: 2 ppm/°C tipica
- INL: ±2 ppm di FSR tipico
- Miglioramento della gamma dinamica: modalità di media 4:1 e 2:1
- Intervallo dinamico ponderato A, 126 dB
- ADC resistivo e ingresso di riferimento
- Facile da sincronizzare: convertitore di frequenza di campionamento asincrono
- Sincronizzazione multidispositivo con un'unica linea di segnale
- Velocità dati programmabili da 0,01 ksps a 1496 kSPS con risoluzione di 0,01 SPS
- Opzione per controllare la velocità dei dati in uscita tramite un segnale esterno
- Opzioni filtro digitale a fase lineare
- Filtro FIR a bassa ondulazione: ondulazione a banda passante 32 µdb, CC fino a 161,942 kHz
- Filtro sinc3 a bassa latenza e filtro sinc6, CC fino a 391,5 kHz
- Filtro Sinc3 con reiezione 50 Hz/60 Hz
- Diafonia 130,7 dBFS
- Collegamento daisy-chain
- Controllo errore CRC su dati e SPI
- Due modalità di potenza - modalità ad alte prestazioni e modalità a bassa potenza
- Alimentazione da 4,5 V a 5,5 V e da 1,65 V a 1,95 V
- Livello IOVDD 1,8 V
- Riferimento esterno da 4,096 V o 5 V
- Clock CMOS esterno o a cristalli di 48 MHz
- Funzionamento configurabile SPI o pin (autonomo)
- Intervallo delle temperature di funzionamento da -40 °C a +105 °C
- Disponibile in LFCSP a 56 conduttori da 8 mm × 8 mm con pad esposto
Applicazioni
- Test e misurazione elettrica
- Test audio
- Analisi della qualità della potenza trifase
- Controllo e verifica in-loop dell'hardware
- Sonar
- Monitoraggio delle condizioni per la manutenzione predittiva
- Ricerca e sviluppo nel campo della scienza acustica e dei materiali
Video
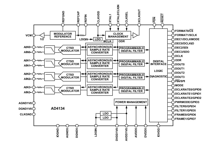
Schema a blocchi
Pubblicato: 2021-12-27
| Aggiornato: 2025-07-31
